Stellantis presenta un prototipo de carro sin freno y acelerador que promete transformar la dirección de carros autónomos y aumentar la accesibilidad para conductores con discapacidades.
Imagina un carro sin acelerador ni pedal de freno. Parece cosa de película futurista, ¡pero Stellantis está trabajando exactamente en eso! La empresa está desarrollando un nuevo prototipo de volante, que recuerda a un joystick de avión, capaz de reemplazar completamente los tradicionales pedales de freno y acelerador. Esto no solo facilita la dirección en carros autónomos, sino que también ofrece una nueva solución para personas con discapacidades (PcD). ¿Quieres saber más sobre este carro sin freno y acelerador? Entonces continúa leyendo que te daremos los detalles de la tecnología que puede traer el fin del acelerador y freno tradicionales.
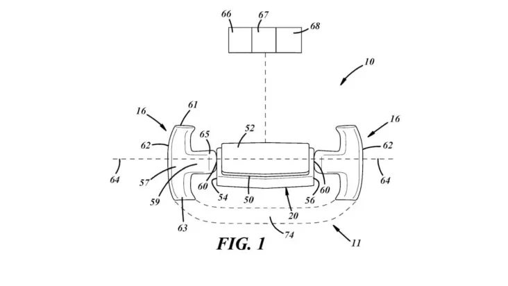
Stellantis y el carro sin acelerador
Las imágenes de este prototipo fueron registradas en la oficina de patentes de los EUA y recientemente reveladas por el sitio CarBuzz. La mecánica es ingeniosamente simple y directa: para acelerar, el conductor empuja el volante hacia el panel; para frenar, lo tira hacia atrás.

Este diseño no solo facilita la dirección, permitiendo el control con solo una mano, sino que también ofrece flexibilidad para adaptar el volante a diferentes estilos, asegurando siempre la ergonomía de un joystick (palanca de control utilizada en aeronaves).
-
Hyundai Creta 2029 se deja ver en nuevas fotos espía con un diseño totalmente renovado, un interior digital más moderno, una central multimedia más grande, un asiento del pasajero más cómodo y la electrificación finalmente en el radar.
-
Fin de una era: Volkswagen deberá finalizar la producción de una de las últimas herederas del Gol en Brasil después de más de 40 años y más de 1,6 millones de unidades vendidas
-
Renault Kwid: El coche más barato de Brasil se convierte en un dolor de cabeza en el taller, tiene el motor desmontado y demuestra que el mantenimiento atrasado puede salir mucho más caro de lo que mucha gente imagina
-
Avelloz salió del Nordeste para convertirse en la 5ª marca que más matricula motocicletas en Brasil, superó 130 mil unidades vendidas y ahora apunta a la expansión en el Sur y Sudeste con nuevos modelos, red nacional y apuesta por el segmento de entrada popular.
Stellantis está mirando hacia hacer la dirección más accesible y eficiente. La tecnología utilizada en el prototipo es el steer-by-wire, que crea una conexión virtual entre el volante y las ruedas, eliminando la necesidad de la columna de dirección tradicional. Esta tecnología es perfecta para carros autónomos y para la nueva función de aceleración y frenado a través del volante.
Desafíos de la nueva tecnología
Sin embargo, surge una preocupación: durante una frenada, la inercia puede hacer que el conductor, involuntariamente, empuje el volante contra el panel, resultando en aceleración no deseada. Una posible solución para eso podría ser incorporar sistemas autónomos al vehículo que, automáticamente, neutralizaran la aceleración o iniciaran la frenada.
Alternativamente, podría considerarse la inversión de las funciones del volante, de modo que empujar resultara en frenada y tirar en aceleración, alineando las acciones de control con las fuerzas físicas naturales para facilitar una conducción más intuitiva.
Otras montadoras innovan con carro sin acelerador y freno en
Stellantis no está sola en esta innovación. Otras montadoras también están explorando conceptos similares. Tesla, por ejemplo, ya instaló un volante parecido en la camioneta Cybertruck, diseñado para ser retraído fácilmente en el futuro de los carros autónomos.
La Toyota presentó el NEO Steer, un sistema que funciona como una palanca para acelerar y frenar el carro, también buscando accesibilidad para conductores PcD. Mazda tiene un proyecto similar.
Impactos y beneficios para personas con discapacidades
La adaptabilidad de este nuevo volante es un gran avance para la accesibilidad. Los conductores con discapacidades podrán encontrar más facilidad y confort al conducir, sin la necesidad de los tradicionales pedales de freno y acelerador. Este diseño inclusivo puede transformar la experiencia de dirección para muchos, proporcionando más autonomía y seguridad.
El desarrollo de este prototipo por parte de Stellantis es un paso importante para el futuro de los carros autónomos. La eliminación de los pedales de freno y acelerador es una adaptación que se alinea perfectamente con la visión de vehículos totalmente autónomos. Con la integración de sistemas avanzados de dirección y control, la seguridad y la eficiencia de los vehículos pueden ser significativamente mejoradas.
¿El fin del acelerador y freno convencionales?
La revolución que Stellantis está proponiendo con el carro sin freno y acelerador es una innovación que promete cambiar la forma en que conducimos. La introducción de un volante que combina las funciones de aceleración y frenado no solo facilita la dirección en carros autónomos, sino que también ofrece una solución inclusiva para conductores con discapacidades.
Este enfoque innovador, combinado con tecnologías avanzadas como el steer-by-wire, puede redefinir los estándares de seguridad y accesibilidad en la industria automotriz. A medida que más montadoras exploran estos conceptos, nos estamos acercando a un futuro donde la dirección será más segura, eficiente y accesible para todos.
Stellantis, con su visión de eliminar el freno y el acelerador tradicionales, está a la vanguardia de esta transformación. El prototipo de volante en forma de joystick es un paso audaz hacia un nuevo paradigma de movilidad, donde la tecnología y la innovación se unen para crear un mundo más inclusivo y avanzado.
Si tienes curiosidad por ver cómo será el futuro de los carros, mantente atento a Stellantis y sus innovaciones. El fin del acelerador y freno tradicionales puede estar más cerca de lo que imaginamos, trayendo consigo una nueva era de vehículos autónomos y accesibles. La revolución en la dirección ya ha comenzado, y Stellantis está liderando el camino con su carro sin acelerador y freno.

-
1 persona reaccionó a esto.