Sedán Híbrido De BYD Se Registró En Brasil Con Promesa De Hasta 2.100 Km De Alcance Total, Motor Eléctrico De Hasta 217 Cv Y Precio Por Debajo Del King, Ampliando La Estrategia De La Marca En El Segmento De Sedanes Medios Electrificados.
A BYD registró ante el Instituto Nacional de Propiedad Industrial el sedán Qin Plus, movimiento que abre el camino para la llegada de un modelo más accesible que el King y con promesa de autonomía combinada de hasta 2.100 km en el ciclo chino CLTC.
Posicionado para disputar espacio con Toyota Corolla y similares, el sedán utiliza el sistema híbrido plug-in de la marca y, en las versiones más potentes, trae motor eléctrico de hasta 217 cv.
Registro En El INPI Y Posicionamiento En El Mercado Brasileño
El depósito de diseño industrial en el INPI es el procedimiento estándar antes de un lanzamiento y no significa, por sí solo, inicio inmediato de las ventas.
-
Fiat Strada Turbo resuelve la falta de fuerza de las versiones 1.3 con motor de hasta 130 cv, cambio CVT y modo Sport, pero la evaluación revela que la camioneta campeona de ventas en Brasil aún podría ofrecer mejor frenado, una pantalla más grande y más confort para quienes viajan atrás.
-
Toyota Urban Cruiser Hyryder llega con motor 1.5 híbrido de 115 cv, transmisión e-Drive y consumo declarado de 27,97 km/l, más económico que Corolla Cross, Creta, T-Cross y Compass en Brasil; SUV accesible muestra un Toyota compacto, moderno y económico que el brasileño solo encuentra en las concesionarias de la India.
-
O precio del coche eléctrico más barato de Brasil cae de R$ 142 mil a R$ 65 mil tras una depreciación del 54% en solo tres años; Renault Kwid E-Tech ofrece hasta 298 km de autonomía urbana y se ha convertido en una sorpresa en el mercado de usados.
-
Poca gente sabe, pero usar solo la letra «D» en la transmisión automática en pendientes puede acelerar el desgaste de la transmisión y aumentar los riesgos en descensos de montaña — ¿estás conduciendo de la manera incorrecta sin darte cuenta?
Aún así, señala la intención de BYD de ampliar la familia de sedanes en el país con un producto por debajo del King en precio y contenido.
La estrategia va de la mano con la ofensiva de la marca en Brasil, que viene ocupando segmentos de mercado con portafolio híbrido y eléctrico en diferentes tamaños y rangos de valor.
Visual De La Línea Dynasty Y Estilo De Sedán Medio
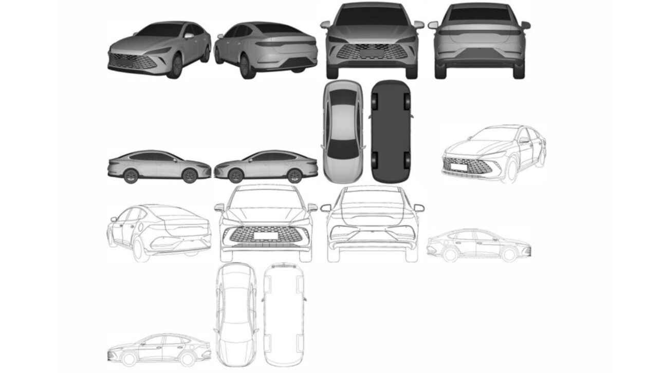
En el diseño, el Qin Plus sigue el lenguaje de la familia Dynasty.
La parrilla generosa domina el frontal y recibe molduras que recuerdan a escamas, mientras que los faros afilados remiten al tratamiento visto en el King.

En la parte trasera, la luz en barra continua refuerza la firma luminosa, tendencia consolidada en el segmento.
El resultado es un tres volúmenes de estilo moderno, pero sin extravagancias, alineado al gusto del público que migra de sedanes medios a combustión hacia soluciones electrificadas.
Dimensiones: ¿Qué Cambia En Relación Al King?
A pesar de la semejanza visual, el Qin Plus es ligeramente menor que su hermano más caro.
Medidas internacionales indican 4,765 m de largo, 1,837 m de ancho y 1,495 m de alto, con 2,718 m de distancia entre ejes.
En la práctica, estas proporciones lo colocan en el corazón del segmento, con buena aprovechamiento interno y tamaño adecuado para uso urbano.
Ya el BYD King permanece un poco más grande en longitud y distancia entre ejes, como reflejan las especificaciones divulgadas para el mercado brasileño, lo cual explica la jerarquía entre los dos en la gama.
Cabina Conocida Y Enfoque En Funcionalidad
Por dentro, el Qin Plus repite soluciones familiares para los clientes de la marca.
El panel de instrumentos digital concentra información de consumo, flujo de energía y asistencia a la conducción.

En el centro, el sistema multimedia rotativo de 12,8 pulgadas integra navegación y comandos del sistema híbrido.
La consola central es minimalista, con pocos botones, selector de marcha electrónico y espacios para objetos que priorizan el uso cotidiano.
La lógica es reducir distracciones y mantener el enfoque en la conducción eficiente.
Sistema De Potencia: DM-i 5.0, Autonomía Y Consumo
El Qin Plus utiliza la arquitectura híbrida de BYD conocida como DM-i.
En las versiones relacionadas con la quinta generación del sistema, la marca declara consumo cercano a 2,9 l/100 km en mediciones chinas y autonomía total de hasta 2.100 km con tanque lleno y batería cargada, cifras obtenidas en ciclo CLTC.
En uso real, los valores pueden variar según el recorrido, relieve y clima, pero ayudan a dimensionar la propuesta de eficiencia del conjunto.
La base mecánica combina un 1.5 aspirado de aproximadamente 100 cv y 12,8 kgfm con motores eléctricos de potencia variable.

En la configuración de entrada, el motor eléctrico entrega 163 cv y 21,4 kgfm, asociado a una batería de aproximadamente 10 kWh, suficiente para alrededor de 80 km en modo eléctrico (CLTC).
Por encima de esta, hay opción con 217 cv y 26,5 kgfm, batería próxima de 16 kWh y hasta 120 km de alcance eléctrico, según el estándar chino.
En ambos los casos, la transmisión es del tipo e-CVT, y la gestión de energía prioriza circular en eléctrico en trayectos urbanos, activando el motor de combustión principalmente para mantener carga y eficiencia a velocidades más altas.
Comparativa Práctica Con El BYD King
Mientras el Qin Plus se centra en el precio y en versiones con batería más pequeña, el BYD King vendido en Brasil apuesta por acabados y contenidos superiores.
También utiliza la tecnología DM-i, pero con calibraciones y paquetes orientados a un nivel más alto de equipamientos.
En términos de referencia, la propia BYD divulga para el King autonomía combinada de hasta 1.200 km en condiciones controladas.
En la práctica, el Qin Plus tiende a funcionar como puerta de entrada a la línea de sedanes híbridos plug-in de la marca, dividiendo la exhibición con el King y ampliando la gama frente a rivales híbridos convencionales.
Línea De Tiempo: Idas Y Venidas Del Nombre Qin
El Qin Plus ya fue descontinuado en China y, luego, resucitado por BYD ante la demanda por sedanes híbridos de menor costo.
En 2024, la marca estrenó la tecnología DM-i 5.0 en el sedán Qin L, de mayor tamaño, y gradualmente llevó la actualización a otros modelos.
En 2025, la familia Qin ganó nueva generación en su versión más accesible, manteniendo el posicionamiento de “hermano del King” y reforzando la estrategia de precios agresivos en el mercado asiático.
¿Y Qué Falta Para Llegar A Las Tiendas?
Con el registro en Brasil realizado, el siguiente paso depende de la decisión comercial de BYD.
La marca viene estructurando producción local y expansión de la red, pero no hay confirmación oficial de fecha de lanzamiento, versiones, lista de equipamientos y precios del Qin Plus para nuestro mercado.
Si llega, la lógica indica un posicionamiento por debajo del King, apuntando a clientes que desean un sedán más racional en precio, pero sin renunciar al alcance eléctrico para el día a día y al costo por kilómetro típico de los híbridos plug-in.

Qué Observar Cuando Él Desembarque
En eventual llegada a las concesionarias, puntos de atención serán la capacidad de la batería en cada versión, la autonomía eléctrica certificada para el estándar brasileño, la garantía aplicable al conjunto híbrido y la integración de asistentes de conducción.
También merecen análisis el espacio del maletero con el alojamiento del paquete de baterías y el costo de mantenimiento programado frente a competidores híbridos tradicionales.
Con esta combinación de precio más bajo, promesa de hasta 2.100 km de alcance total y paquete híbrido moderno, el Qin Plus tiene fuerza para cavar un lugar junto al King y enfrentar al Corolla y compañía en Brasil, o el consumidor local seguirá priorizando versiones más equipadas incluso a un costo mayor?


Acho que é devaneios achar que vai ser barato
Barato kkk, o que e barato no Brasil e que preste.
PASSOU DOS LIMITES. PROPAGANA TA UM SACO. NÃO TEM COMO LER . COMECIAL TAMPA TUDO.