La multinacional Ford quiere mantener motores a gasolina y diésel, pero abasteciéndolos con hidrógeno, entienda cómo esto puede funcionar.
Aunque estamos acostumbrados a la mecánica basada en celdas de combustible, que utilizan hidrógeno para generar electricidad, existen otros proyectos como estos que apuestan por un enfoque bastante diferente. Los primeros son, en definitiva, coches eléctricos. Después de que la Cummins anunciara recientemente un motor que promete ser abastecido por cualquier tipo de combustible, esta vez la multinacional Ford quiere salir adelante en la carrera de motores con cero emisiones. Es lo que muestra la patente registrada de la marca del óvalo azul en el Oficina de Patentes y Marcas de EE. UU. (Registro de Marcas y Patentes de EE. UU.) la semana pasada (18).
Ford es otro fabricante que está apostando – o supuestamente apostará – en motor de combustión alimentado por hidrógeno
La empresa estadounidense anunció la semana pasada (18) que está dividiendo sus negocios en dos categorías algo independientes. Mientras que el Modelo E es responsable de los coches eléctricos, la división Azul es responsable de los vehículos térmicos.
Y es este segundo el que tiene un proyecto interesante, relacionado con la patente que nos interesa en este artículo, y que se basa en un motor térmico movido a hidrógeno. Esto, obviamente, permitiría que los motores actuales continuaran desarrollándose, pero con el objetivo de ser movidos a hidrógeno, en lugar de gasolina y diésel.
-
Con un motor 1.6 de 118 CV, un maletero de 460 litros y una pantalla multimedia de 7 pulgadas, el Nissan V-Drive 2026 se vende en México a partir de 339.900 pesos mexicanos y apuesta por un bajo costo de mantenimiento para conquistar a conductores de aplicaciones, propietarios de flotas y profesionales autónomos.
-
Costando R$ 57.676 y con una autonomía de hasta 815 km, el Volkswagen up! TSI 2018 rinde 16,3 km/l en carretera y puede ser financiado con cuotas estimadas de R$ 1.314
-
Ahora sí que viene la NASA: Un Uno Mille con piezas de 17 coches, neón, alerón y escalera en el techo es transformado en la versión brasileña del coche de Brian en Rápido y Furioso.
-
5 sedanes usados espaciosos y cotizados a partir de R$ 45 mil ofrecen hasta 536 litros en el maletero, consumo de 15,6 km/l, cambio automático o CVT y motores de hasta 144 cv
La multinacional Ford quiere mantener motores a gasolina y diésel, pero abasteciéndolos con hidrógeno

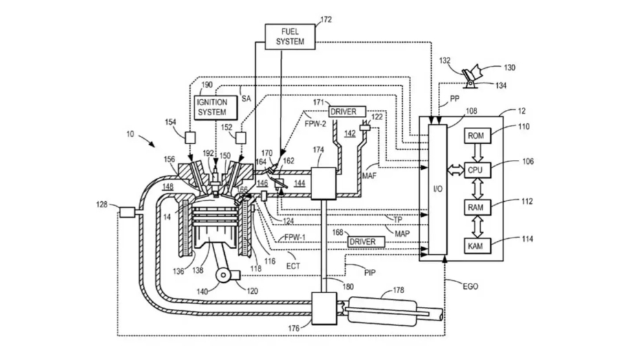
Ford registró una patente para un motor de combustión que funciona con hidrógeno en la Oficina de Patentes y Marcas Registradas de Estados Unidos. En otras palabras, no es como los vehículos típicos de hidrógeno, que convierten este combustible en energía eléctrica para almacenarlo en una batería de iones de litio y, así, alimentar uno o más motores eléctricos.
En lugar de eso, este motor es similar a un motor a gasolina o diésel, pero con la gran diferencia de que utiliza hidrógeno como combustible. En la patente para este motor, presentada por Ford, ya se contempla el comportamiento del mismo para controlar correctamente, y en cualquier situación, la relación aire y combustible.
Además, también se contempla que posea un sistema de distribución de válvulas y recirculación de los gases de escape – una válvula EGR, go-. Esta patente describe que puede alcanzar valores de lambda superiores a 2,0, mientras que un motor a gasolina puede variar entre 0,54 y 1,25, aproximadamente. Es capaz de mezclar hasta 68 partes de aire por 1 parte de hidrógeno.
Sistema de inyección directa para proporcionar hidrógeno a los cilindros
También se contempla en esta patente un sistema de inyección directa para proporcionar hidrógeno a los cilindros. Y como se describe, este sistema de inyección tendría hasta un 15% más de potencia que un sistema de inyección equivalente en un motor a gasolina.
Y es curioso, porque además de la Ford también planearon que sea asociada a un sistema híbrido con un motor-generador colocado entre el propio motor y el sistema de transmisión. Y aunque se ha registrado una patente sobre la mecánica, en la que, por cierto, no se revelan todos los detalles sobre su funcionamiento, debe tenerse en cuenta que, en este momento, no se sabe si entrará en producción.
Las marcas de automóviles suelen registrar decenas de patentes, y la verdad es que no todas las tecnologías que desarrollan terminan en productos finales. Sin embargo, sería interesante que, paralelamente a los sistemas eléctricos, también se apostara por los motores a hidrógeno. Aún así, se trata de un motor y el consumo de aceite lubricante, aunque en pequeñas cantidades, genera pocos niveles de CO2. No se sabe aún en qué coche debutará, sin embargo, uno de los candidatos es el próximo Mustang. Con cuatro cilindros y turbo, el propulsor a hidrógeno de Ford ayudará mucho a la marca a tener una opción a los eléctricos por algún tiempo.

¡Sé la primera persona en reaccionar!